18163321771 / 17720587963

搜索

首页 >> 新闻资讯 >>  公司新闻

公司新闻 行业新闻 技术洞察 政策法规
关键时刻能救命!竞技联盟德州科技智慧消防守护校园消防安全

白云丝丝游九天,银杏片片漫校园。正是橙黄橘绿时,莫因火灾酿悲剧!
校园人员密集,用电用火场景多,一旦发生火灾,其造成的经济损失比盗窃高出几十倍。建国以来,在我国所有全日制高校中,未发生过火灾的寥寥无几,仅2022年记录在册的就有15起火灾!

2022 火灾事故

11月24日,合肥市金寨南路一商务学院女生宿舍发生火灾。

11月16日下午4时,四川成都市四川外国语大学成都学校女生宿舍楼发生火灾。

9月8日,天河区华南农业大学泰山区16栋1楼发生火灾。

7月1日,广西外国语学院的一食堂起火。

6月16日,凌晨桂林一高校电动自行车充电棚发生火灾。

6月4日18时,湖南财政经济学院一男生宿舍突发火灾。

5月18日上午,中国农业大学西区食堂着火。

5月江苏常州一高校5楼宿舍起火。

4月20日10时50分,中南大学材料科学与工程学院一实验室发生爆燃事故。

4月3日下午,广东中医大学城宿舍K栋 某宿舍突发起火。

3月16日,湖南某职业技术学院一男生宿舍发生火灾。

3月2日,清华大学紫荆公寓发生火灾。

3月,海南某大学的教师公寓楼一房间着火。

2月27日上午9时,贵阳市乌当区贵州师范学院女生宿舍突然起火。

2月19日下午,江西萍乡学院一女生宿舍突发火灾。

火灾救命神器

mceu_13372010611701399559348.jpg

mceu_4236717521701399595015.png

mceu_15652078531701399607671.png

火灾事故回放

2023年11月20日下午14时34分,广州大学城某高校宿舍火灾事故

事故概况:生活区学生宿舍5栋某房间发生火情,现场人员接到监控中心呼叫后及时出警、处置得当,加上事件发生在学生上课期间,事故没有造成人员伤亡、财产损失较小。火调初步结论是:因为书籍覆盖在劣质接线板上,接线板发热导致着火。

系统响应:竞技联盟德州科技双波长烟感设备在火灾发生初期快速本地化报警响应,并通过智慧消防平台向消防监控中心推送警情,平台详细记录了报警设备发生的时间、地点。

mceu_79969779441701399682025.png

mceu_18887868151701399726077.png

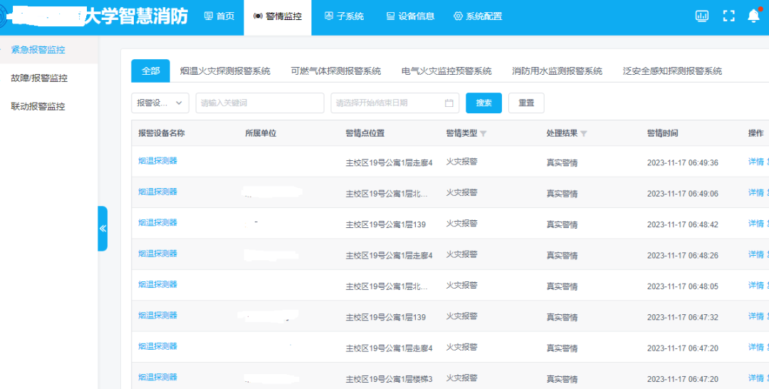
2023年11月17日早上6时47分,北京某著名高校宿舍发生火灾事故

事故概况:主校区19号公寓某房间发生火情,房间、楼道和楼梯间的无线烟感相继发出了火灾报警,保卫处防火科值班人员及楼管第一时间赶到现场,及时将火灾扑灭。火调初步结论是:因为学生的电暖脚毯温度过高起火。

系统响应:竞技联盟德州科技双波长烟感设备在火灾第一时间报警响应,为宿舍学生赢得宝贵的逃生时间,平台报警后宿管人员第一时间到现场核实火情通知救火,避免了大范围的火灾损失。平台详细记录了报警设备发生的时间、地点。

mceu_91723593561701399759384.png

 mceu_87949080111701825395623.png

竞技联盟德州科技校园智慧消防方案

 

mceu_29234022381701400113713.png